O: e28le mootoriruumi põhjakate

Klassikaliste BMW'de varuosad, varuosadeks müüdavad autod ja ajastukohane lisavarustus.
Vasta
Kasutaja avatar
rokk
Postitusi: 179
Liitunud: 10 Aug 2010 11:57

O: e28le mootoriruumi põhjakate

Postitus Postitas rokk »

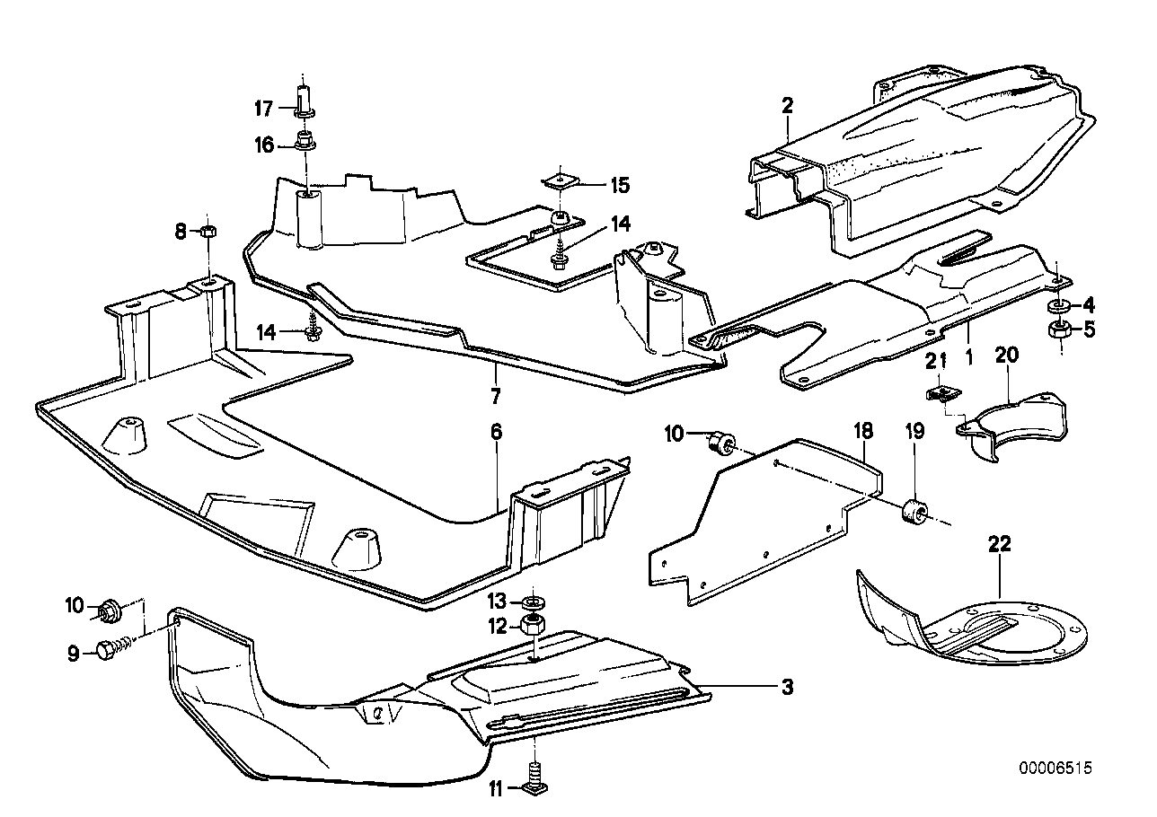
Pildil detail nr 7
M30 mootorile
Ps või 5o918o4
Manused
IMG_2553.PNG
IMG_2553.PNG (25.27 KiB) Vaadatud 1720 korda
Vasta